Кузов Mark VIII
Модератор: Николай Пименов
- Malamut
- настоящий ценитель
- Сообщения: 296
- Зарегистрирован: 21 дек 2009, 19:15
- Откуда: Зеленоград
- Контактная информация:
Кузов Mark VIII
Начал собирать все что известно про геометрию Марка, пока результат не впечатляет, если есть у кого какая инфа, буду рад.
Показал Марка человеку который будет делать и было принято решение выпиливать часть и вваривать другую, посему ищу еще и железо
Показал Марка человеку который будет делать и было принято решение выпиливать часть и вваривать другую, посему ищу еще и железо
MB R350, 2006
Pontiac Parisienne, 1984 5.0
GAZ 21, 1967 готовлю к пескоструйке
Москвич 408, 1974
Suzuki intruder m1800r2, 2009
Pontiac Parisienne, 1984 5.0
GAZ 21, 1967 готовлю к пескоструйке
Москвич 408, 1974
Suzuki intruder m1800r2, 2009
- Николай Пименов
- Ветеран клуба АмАвто
- Сообщения: 28351
- Зарегистрирован: 20 окт 2007, 23:03
- Откуда: Самара
Re: Кузов Mark VIII
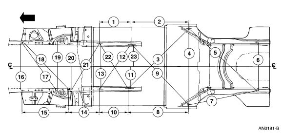
Единственное что есть нормированного в геометрии - вот.
- Вложения
-
- Обмеры кузова.rar
- (568 байт) 180 скачиваний
- Николай Пименов
- Ветеран клуба АмАвто
- Сообщения: 28351
- Зарегистрирован: 20 окт 2007, 23:03
- Откуда: Самара
Re: Кузов Mark VIII
Коля, а как выравнивают геометрию? к кому с этим надо обращаться? и что впервую очередь надо делать: подвеску, сам кузов или как? можно подробно?
Black MarkVIII
Black SRT8(временно нету. скоро обновление)
Black SRT8(временно нету. скоро обновление)
- Николай Пименов
- Ветеран клуба АмАвто
- Сообщения: 28351
- Зарегистрирован: 20 окт 2007, 23:03
- Откуда: Самара
Re: Кузов Mark VIII
Коль.. пожалуйста, ответь корректно. потому что я щас поменяю подвеску а потом окажется что зря
Black MarkVIII
Black SRT8(временно нету. скоро обновление)
Black SRT8(временно нету. скоро обновление)
Re: Кузов Mark VIII
ну если после ремонта подвески на развале будут не утешительные новости то тогда уж без вытягивания и костоправа не обойтись!!!
Renault Megane ХЭЧ. 1,6l 2004г.
Lincoln mark Vlll 8 4.6l 95 г.
Нивас 21213 1,7l 2003г.
Chevrolet TAHOE 5,7l 95г.
Opel Astra G 1,6l 16V 99г.
Opel Omega 1,8l 88г.
Ваз 2101 80г.
Lincoln mark Vlll 8 4.6l 95 г.
Нивас 21213 1,7l 2003г.
Chevrolet TAHOE 5,7l 95г.
Opel Astra G 1,6l 16V 99г.
Opel Omega 1,8l 88г.
Ваз 2101 80г.
- ereminds
- Ценитель
- Сообщения: 133
- Зарегистрирован: 27 май 2008, 00:01
- Откуда: Москва
- Контактная информация:
Re: Кузов Mark VIII
По своему опыту не надо очень заморачиваться геометрией если небыло серьезной аварии. Перед тем как варить Николай мне тоже прислал эти картинки. Замерял некоторые точки несколько раз с гнилыми порогами, с отрезаным левым или правым порогом, потом с привареным соответствуюшим порогом. Все оставалось в пределах погрешности измерений. Это поможет если лонжерон в гормошку или задница выше крыши. Для информации все точки на каринках это либо технологическое оверстие либо резьбовое куда что-то должно вкручиваться.
Ford Taurus G3 LX 96г. 3.0L Duratec Sedan
Ford Taurus G3 LX 96г. 3.0L Vulcan Sedan
Ford Taurus G3 GL 96г. 3.0L Vulcan Wagon
Ford Explorer 2 95г. 4.0L Eddy Bauer
Lincoln Mark 8 93г. Белый
Ford Taurus G3 LX 96г. 3.0L Vulcan Sedan
Ford Taurus G3 GL 96г. 3.0L Vulcan Wagon
Ford Explorer 2 95г. 4.0L Eddy Bauer
Lincoln Mark 8 93г. Белый
- Николай Пименов
- Ветеран клуба АмАвто
- Сообщения: 28351
- Зарегистрирован: 20 окт 2007, 23:03
- Откуда: Самара
Re: Кузов Mark VIII
Точнее, оси этих отверстий.
Проверка геометрии - это всё же проверка, причем довольно безопасная (ничего же не сломается).
Замена подвески хуже не сделает, и с новыми деталями тоже ничего не случится.
Проверка геометрии - это всё же проверка, причем довольно безопасная (ничего же не сломается).
Замена подвески хуже не сделает, и с новыми деталями тоже ничего не случится.
- Malamut
- настоящий ценитель
- Сообщения: 296
- Зарегистрирован: 21 дек 2009, 19:15
- Откуда: Зеленоград
- Контактная информация:
Re: Кузов Mark VIII
Занялся сегодня тем, что переклеил стекло, это шоу не для слабонервных, когда клей высох стекло поползло трещинами от угла во все стороны. Домой приехал с паутиной во все стекло
MB R350, 2006
Pontiac Parisienne, 1984 5.0
GAZ 21, 1967 готовлю к пескоструйке
Москвич 408, 1974
Suzuki intruder m1800r2, 2009
Pontiac Parisienne, 1984 5.0
GAZ 21, 1967 готовлю к пескоструйке
Москвич 408, 1974
Suzuki intruder m1800r2, 2009
- Николай Пименов
- Ветеран клуба АмАвто
- Сообщения: 28351
- Зарегистрирован: 20 окт 2007, 23:03
- Откуда: Самара
- Malamut
- настоящий ценитель
- Сообщения: 296
- Зарегистрирован: 21 дек 2009, 19:15
- Откуда: Зеленоград
- Контактная информация:
Re: Кузов Mark VIII
Просто до этого стекло не было приклеено, вот я и жаловался зимой что холодно, а когда проклеили по всей плоскости на каждой ямке стали появляться новые трещины. Однозначно жестянщикам огромный "привет"
MB R350, 2006
Pontiac Parisienne, 1984 5.0
GAZ 21, 1967 готовлю к пескоструйке
Москвич 408, 1974
Suzuki intruder m1800r2, 2009
Pontiac Parisienne, 1984 5.0
GAZ 21, 1967 готовлю к пескоструйке
Москвич 408, 1974
Suzuki intruder m1800r2, 2009
- Dima
- AmAvto
- Сообщения: 49435
- Зарегистрирован: 14 янв 2005, 16:03
- Откуда: Москва
- Контактная информация:
Re: Кузов Mark VIII
Да уж...
хорошую марковку отхватил....
Cadillac Escalade 2010
X6 XDrive50i
Chrysler Crossfire Convertible SRT-6
Cadillac Escalade 2013
X6 XDrive50i
Chrysler Crossfire Convertible SRT-6
Cadillac Escalade 2013
- Malamut
- настоящий ценитель
- Сообщения: 296
- Зарегистрирован: 21 дек 2009, 19:15
- Откуда: Зеленоград
- Контактная информация:
Re: Кузов Mark VIII
Бл*, как обычно приходитсь все переделывать после других. Буду отсверливать все подетально, чтоб видеть как можно вживить кусок
MB R350, 2006
Pontiac Parisienne, 1984 5.0
GAZ 21, 1967 готовлю к пескоструйке
Москвич 408, 1974
Suzuki intruder m1800r2, 2009
Pontiac Parisienne, 1984 5.0
GAZ 21, 1967 готовлю к пескоструйке
Москвич 408, 1974
Suzuki intruder m1800r2, 2009
- Николай Пименов
- Ветеран клуба АмАвто
- Сообщения: 28351
- Зарегистрирован: 20 окт 2007, 23:03
- Откуда: Самара
Re: Кузов Mark VIII
Посмотри на www.usa-auto.ru детализацию деталей в разделе "железо" - даст представление, какие исходные детали были.


